Предмет: Другие предметы,
автор: turninanina7
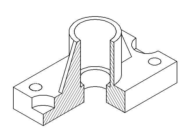
начерти аксонометрическую проекцию детали с 1/4 выреза. Пожалуйста!!!!
Приложения:
Ответы
Автор ответа:
1
Ответ:
Объяснение:
++++++++++++++++++++++
Приложения:
turninanina7:
можете размеры указать пожалуйста
Похожие вопросы
Предмет: Русский язык,
автор: lehaisachenko
Предмет: Русский язык,
автор: гшывнвгшнв
Предмет: Русский язык,
автор: aaosipovatver
Предмет: Алгебра,
автор: mmmmmmm1212121