Предмет: Физика,
автор: Аноним
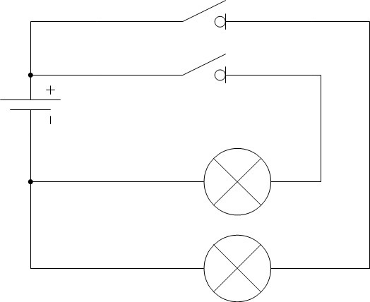
Начертите цепь состоящую из двух ламп накаливания. Каждая лампа должна выключаться отдельным выключателем. Цепь должна питаться от гальванической батареи элементов питания напряжением 4,5 В.
Аноним:
Даю 32 б
Ответы
Автор ответа:
3
Схема приведена на рисунке
Приложения:
Спасибо! Наконец-то нормальный ответ
Похожие вопросы
Предмет: Литература,
автор: aminaberik3012
Предмет: Другие предметы,
автор: vika69518
Предмет: Математика,
автор: Iuyueyeur
Предмет: Математика,
автор: sekinaev123
Предмет: Физика,
автор: Systemich