Предмет: Другие предметы,
автор: captcharecaptcha
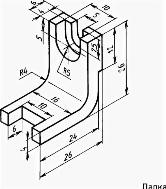
Помогите пожалуйста , надо нарисовать каждый предмет с 3 сторон : Сверху, сбоку , сзади. Даю 20 баллов. Спасибо!
Приложения:
Ответы
Автор ответа:
0
========================
Приложения:
Похожие вопросы
Предмет: Химия,
автор: bodka5
Предмет: Геометрия,
автор: nastarozanska388
Предмет: Математика,
автор: Blackiyyy
Предмет: Математика,
автор: Джон111111
Предмет: Геометрия,
автор: Solnik