Предмет: Другие предметы,
автор: salexanderzabaluev96
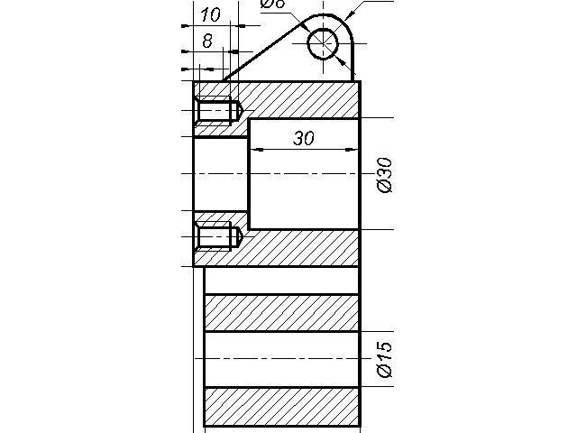
Здравствуйте, помогите пожалуйста выполнить чертёж с исправление ошибок. Это одна и та же деталь, просто в 1 фотографию не влезает
Приложения:
Букса:
Чтобы увидеть ошибки, нужен второй вид детали.
Ответы
Автор ответа:
2
Ответ:
Объяснение:
Красным цветом выделила размер, который я изменила с 38 на 50, иначе, нижние диаметры наезжают друг на друга.
Приложения:
пожалуйста помогите вопрос в профиле очень нужно
Помогите пожалуйста ещё в 1 чертеже
Похожие вопросы
Предмет: Английский язык,
автор: AlinkaMalinkaKalinka
Предмет: Русский язык,
автор: Аноним
Предмет: Русский язык,
автор: знания4914234
Предмет: Другие предметы,
автор: Айдан2018
Предмет: Русский язык,
автор: axyonova