Предмет: Другие предметы,
автор: sakura1108
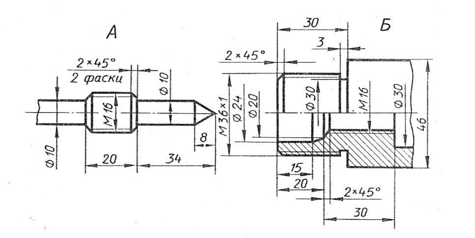
Начертить в масштабе 1:1 деталь А, ввернутой в деталь Б. Нанести габаритные размеры.
Надо как можно быстрее!!
Приложения:
Ответы
Автор ответа:
4
Ответ:
Объяснение:
Указала размеры, которые нужны для соединения с другими деталями. Габаритный размер по длине указать нет возможности, т.к. детали имеют линии обрыва.
Приложения:
Похожие вопросы
Предмет: Английский язык,
автор: tiger108a
Предмет: Английский язык,
автор: 20032006fox
Предмет: Русский язык,
автор: ftregeamimert
Предмет: Химия,
автор: Принцесса1Луна