Предмет: Физика,
автор: kristinavo1410
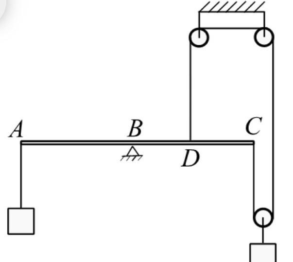
На рисунке изображена невесомая балка, опирающаяся на опору в точке В и система блоков с грузами. При этом АВ = ВС, ВD = СD. Система находится в равновесии. Найти массу груза, подвешенного на невесомом подвижном блоке, если масса груза подвешенного в точке А равна 15кг. Ответ выразить в килограммах
Приложения:
Ответы
Автор ответа:
2
АВ=2L; ВС=2L; ВД=L
Тело массой m висит на подвижном блоке. Справа.
Натяжение нитей Т=mg/2. См. фото. Подвижный блок дает выигрыш в силе в 2 раза.
Рычаг в равновесии, когда сумма моментов сил, вращающих его против часовой стрелки и по часовой равны.
М=F*L - определение момента силы (сила на плечо).
------------------------------
У нас: в точке А вектор силы тяжести 15 кг*10 Н/кг=150 Н.
150*2L + T*L=T*2L
300L + mg/2 * L=mg/2 * 2L I : 10L (g=10 Н/кг )
30 + m/2=m
30=m-m/2
m/2=30; m=60 кг - это ответ.
На фото слева 150 Н.
Приложения:
kristinavo1410:
спасибо огромное
Похожие вопросы
Предмет: Математика,
автор: cool392016
Предмет: География,
автор: Аноним
Предмет: Физика,
автор: anara4
Предмет: Алгебра,
автор: Vovan22o2
Предмет: Математика,
автор: Аноним