Предмет: Другие предметы,
автор: rafa20062006
черчение Задания к практической работе «Методы проецирования».
Прошу помочь,нужно сделать только 1 рисунок та что плоская.
ДАЮ 100 БАЛЛОВ!
Приложения:
Ответы
Автор ответа:
3
Ответ:
Объяснение:
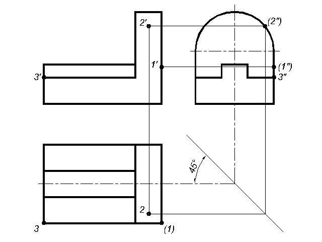
1. На чертеже задания изображен вид спереди - главный вид.
2. Ребро детали проецируется в натуральную величину, если ребро параллельно проецируемой плоскости.
В точку - ребро перпендикулярно проецируемой плоскости.
С искажением - ребро находится под углом к проецируемой плоскости (кроме 90°).
См. 4 чертеж:
Ребро красного цвета на видах спереди и сверху - натуральная величина, а на виде слева - точка.
Ребро синего цвета на видах спереди и слева - натуральная величина, а на виде сверху - точка.
Полукруг радиусом 30 мм - на виде слева - натуральная величина, а на видах спереди и сверху - прямые линии (искажение).
Приложения:
rafa20062006:
ты лучший!
Спасибо. Удачи Вам!
вопрос,а какое из 3 перечерчивать? последнее? я просто совсем не разбираюсь в черчении,извините
Первый чертеж - построение трех видов по наглядному изображению.
Второй чертеж - построение проекций трех точек. Вы должны перечертить первый чертеж и на нем показать проекции точек.
большое спасибо.
Похожие вопросы
Предмет: Биология,
автор: grigorioromanus
Предмет: Русский язык,
автор: киска231
Предмет: Математика,
автор: mrpashokegoro
Предмет: Математика,
автор: аяла3