Предмет: Физика, автор: sermatovzaksylyk09

кто хорошо решает физику, помогите!! пжж
можете написать подробно ну типо дано и решения.​

Приложения:

Ответы

Автор ответа: qkhdhsvxj
1

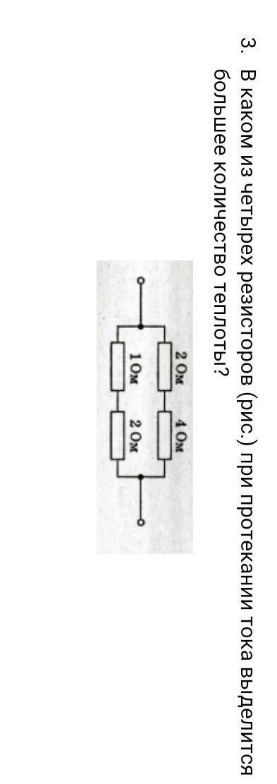
Ответ:

В резисторе с 4 ом

Чем выше сопротивление тем больше нагревается

В дано с решениями я сам слаб, так что sorry

Автор ответа: ssiissii
1

Ответ:

R3 = 1 Ом

Объяснение:

Дано:

R1 = 2 Ом

R2 = 4 Ом

R3 = 1 Ом

R4 = 2 Ом

Найти:

Qmax - ?

________________

Решение:

Для подсчета количества теплоты,выделяемой в проводнике используют следующую формулу:

Q = I*U*t

В данном случае:

Q = (U^2/R)*t

При расчете количества теплоты в проводниках,соединенных параллельно электрически ток,протекающих в них,будет различен. Напряжение на концах цепи,а также напряжение на каждом резисторе будет одинаково U = U1 = U2 = U3 = U4.Таким образом количество теплоты обратно пропорционально электрическому сопротивлению.

В условии данной задачи большим количеством теплоты обладает резистор R3 = 1 Ом.Qmax на резисторе R3.

Похожие вопросы
Предмет: Русский язык, автор: panenachka55
Предмет: История, автор: matveenkolilia0