Предмет: Другие предметы,
автор: Smunaidinova
Задание 1.Замените вид слева профильным разрезом
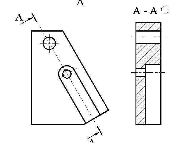
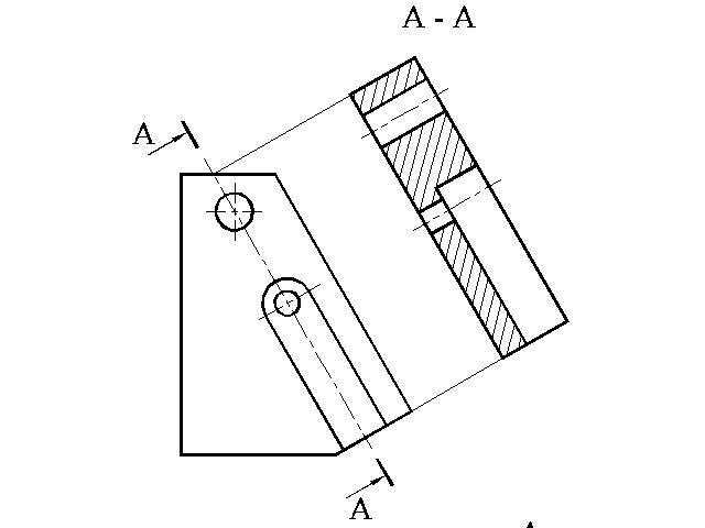
Задание 2.Замените вид слева разрезом А-А
Помогите пожалуйста
Приложения:
Ответы
Автор ответа:
2
На втором чертеже показываю как строится разрез. На третьем чертеже - обратите внимание, где стоит обозначение А-А нарисована окружность со стрелкой - разрез повернут.
Приложения:
Smunaidinova:
Спасибо большое
Удачи Вам!
Похожие вопросы
Предмет: Математика,
автор: dreyk4328
Предмет: Физика,
автор: tkacuklena564
Предмет: Обществознание,
автор: anastasiyakuch9412
Предмет: Математика,
автор: Даеиял007
Предмет: Химия,
автор: soker185