Предмет: Информатика, автор: agentarinchik003

Заполнить массив D, состоящий из 10 элементов случайными числами и вывести элементы на экран+ блок схема и программа

Ответы

Автор ответа: hello93
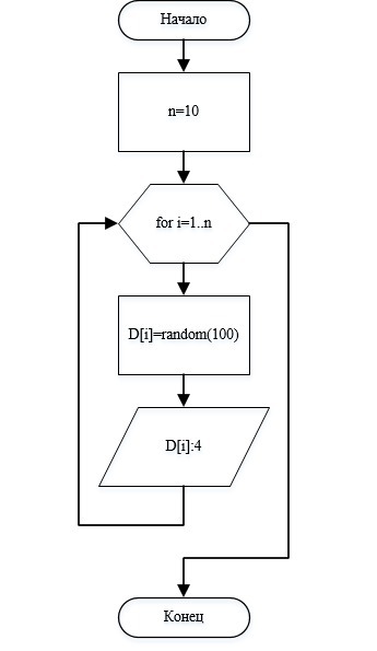
1

const

 n=10;

var

 D : array [1..n] of integer;

 i:integer;

begin

 randomize;

 for i:=1 to n do  

   begin

     D[i]:=random(100);

     write(D[i]:4);

   end;

end.

Приложения:
Похожие вопросы
Предмет: Биология, автор: nikkonkoneff33
. Выберите правильное утверждение ( “да” или “нет” ):

Коноплю, тополь, иву называют двудомными растениями, т.к. у них тычиночные цветки расположены на одних растениях, а пестичные – на других.

А) да Б) нет



2. Закончить предложение (определение):

Околоцветник называют двойным, если он состоит из ______________________________________________________________



3. Цветок – это:

А) яркий венчик В) часть стебля

Б) видоизменённый побег Г) околоцветник



4. Цветок развивается из:

А) любой почки В) стебля с листьями

Б) генеративной почки Г) вегетативной почки



5. Главные части цветка:

А) лепестки и чашелистики В) столбик и рыльце

Б) пестик и тычинки Г) цветоножка и цветоложе



6. Определите правильно составленную формулу цветка вишни:

А) *Ч5 Л5 Т∞ П∞ В) Ч4+1 Л3+2 Т1 П1

Б) *Ч5 Л5 Т∞ П1 Г) *Ч(5) Л(5) Т5 П1



7. Простой околоцветник у однодольного растения:

А) лилии В) вишни

Б) картофеля Г) яблони



8. Цветы, у которых есть и пестик и тычинки называются:

А) пестичными В) раздельнополыми

Б) тычиночными Г) обоеполыми



9. Семена образуются из:

А) пыльцы В) околоцветника

Б) столбика пестика Г) семязачатка



10*. Женские половые клетки образуются в:

А) тычинках В) околоцветнике

Б) пестиках Г) цветоложе



11*. Исключите (укажите) лишнее понятие:

А) пестик Г) рыльце

Б) тычинка Д) цветоножка

В) лепесток



12. Зарисовать и обозначить строение тычинки.

Текущий контроль На выполнение теста 9 минут!

Учитель БОУ СОШ №16 Тест по теме «ЦВЕТОК» Желаю успеха!

Прохорская А.И. II вариант



1. Выберите правильное утверждение ( “да” или “нет” ):

Такие растения, как огурцы и кукуруза называют однодомными, т.к. пестичные и тычиночные цветки у них развиваются на одном растении.

А) да Б) нет



2. Закончить предложение (определение):

Околоцветник называют простым, если он состоит из ______________________________________________________________



3. Видоизменённым побегом называют:

А) часть стебля В) цветок

Б) стебель с листьями Г) околоцветник



4. Зачаточные бутоны находятся в:

А) вегетативной почке В) генеративной почке

Б) любой почке Г) любом зачаточном побеге



5. Главные части цветка защищены:

А) околоцветником В) цветоложем

Б) цветоножкой Г) чашечкой



6. Определите правильно составленную формулу цветка картофеля:

А) *Ч5 Л5 Т∞ П∞ В) Ч4+1 Л3+2 Т1 П1

Б) *Ч5 Л5 Т∞ П1 Г) *Ч(5) Л(5) Т5 П1



7. Двойной околоцветник у двудольного растения:

А) вишни В) лилии

Б) ландыша Г) тюльпана



8. Раздельнополые цветки имеют:

А) всегда только тычинки В) или тычинки или пестики

Б) всегда только пестики Г) и тычинки и пестики одновременно



9. Плоды образуются:

А) в столбике пестика В) в завязи пестика

Б) в околоцветнике Г) в пыльнике тычинки



10*. Мужские половые клетки образуются в:

А) тычинках В) околоцветнике

Б) пестиках Г) цветоложе



11*. Исключите (укажите) лишнее понятие:

А) чашелистик Г) пестик

Б) столбик Д) цветоложе

В) тычинка

12. Зарисовать и обозначить строение пестика.
Предмет: Английский язык, автор: antonovagalina82