Предмет: Информатика,
автор: Youkek
Дан одномерный массив. Сформировать другой массив из
положительных нечетных, либо вывести сообщение, что таких нет ! Спасайте:) Язык: ТурбоПаскаль
Ответы
Автор ответа:
0
{ Boland Pascal 7.01 }
uses Crt;
const
n=20;
var
a,b:array[1..n] of integer;
i,k:integer;
begin
ClrScr;
Randomize;
Writeln('*** Исходный массив ***');
k:=0;
for i := 1 to n do begin
a[i]:=Random(51)-25;
Write(a[i]:4);
if Odd(a[i]) and (a[i]>0) then
begin Inc(k); b[k]:=a[i] end
end;
Writeln;
if k>0 then begin
Writeln('*** Сформированный массив ***');
for i:=1 to k do Write(b[i]:4);
Writeln
end
else Writeln('Нет элементов для формирования выходного массива');
ReadKey
end.
Тестовое решение:
*** Исходный массив ***
-3 -16 -9 20 18 11 -25 14 -22 -20 -11 15 -19 20 -16 19 -2 -4 -8 -17
*** Сформированный массив ***
11 15 19
А вот для сравнения современный вариант программы:
// PascalABC.NET 3.0, сборка 1088
begin
var n:=ReadInteger('Размер массива=');
var a:=ArrRandom(n,-25,25);
Writeln('*** Исходный массив ***',#13#10,a);
var b:=a.Where(x->(Odd(x) and (x>0)));
If b.Count>0 then Writeln('*** Сформированный массив ***',#13#10,b)
else Writeln('Нет элементов для формирования выходного массива')
end.
Тестовое решение:
Размер массива=20
*** Исходный массив ***
[-9,-1,8,-7,13,0,-22,20,18,-15,9,-14,16,15,0,1,9,-17,22,-13]
*** Сформированный массив ***
[13,9,15,1,9]
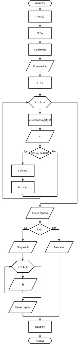
Исправлено: по "просьбам трудящихся" добавлена блок-схема.
uses Crt;
const
n=20;
var
a,b:array[1..n] of integer;
i,k:integer;
begin
ClrScr;
Randomize;
Writeln('*** Исходный массив ***');
k:=0;
for i := 1 to n do begin
a[i]:=Random(51)-25;
Write(a[i]:4);
if Odd(a[i]) and (a[i]>0) then
begin Inc(k); b[k]:=a[i] end
end;
Writeln;
if k>0 then begin
Writeln('*** Сформированный массив ***');
for i:=1 to k do Write(b[i]:4);
Writeln
end
else Writeln('Нет элементов для формирования выходного массива');
ReadKey
end.
Тестовое решение:
*** Исходный массив ***
-3 -16 -9 20 18 11 -25 14 -22 -20 -11 15 -19 20 -16 19 -2 -4 -8 -17
*** Сформированный массив ***
11 15 19
А вот для сравнения современный вариант программы:
// PascalABC.NET 3.0, сборка 1088
begin
var n:=ReadInteger('Размер массива=');
var a:=ArrRandom(n,-25,25);
Writeln('*** Исходный массив ***',#13#10,a);
var b:=a.Where(x->(Odd(x) and (x>0)));
If b.Count>0 then Writeln('*** Сформированный массив ***',#13#10,b)
else Writeln('Нет элементов для формирования выходного массива')
end.
Тестовое решение:
Размер массива=20
*** Исходный массив ***
[-9,-1,8,-7,13,0,-22,20,18,-15,9,-14,16,15,0,1,9,-17,22,-13]
*** Сформированный массив ***
[13,9,15,1,9]
Исправлено: по "просьбам трудящихся" добавлена блок-схема.
Приложения:
Похожие вопросы
Предмет: Қазақ тiлi,
автор: hi270919
Предмет: Математика,
автор: aksutbekenov
Предмет: Математика,
автор: tumar0457
Предмет: Математика,
автор: ksyushechcka